стабилизатор — это… Что такое стабилизатор?
Стабилизатор — Стабилизатор в общем случае предназначен для предотвращения изменения параметров под действием дестабилизирующих факторов: В математике: стабилизатор множества по действию группы, см. действие группы. В электротехнике: стабилизатор… … Википедия
стабилизатор — а, м. stabilisateur m., нем. Stabilisator. <лат. stabilis устойчивый. 1. Устройство, придающее телу устойчивость при движении. Стабилизатор самолета. С. мины. С. автомобиля. БАС 1. Требуется ли облегчить дирижабль, пилот чуть чуть подымает… … Исторический словарь галлицизмов русского языка
стабилизатор — регулятор, уравнитель, киль, бареттер, агерит, противостаритель Словарь русских синонимов. стабилизатор сущ., кол во синонимов: 17 • автостабилизатор (1) • … Словарь синонимов
Стабилизатор — (заднее горизонтальное оперение) аэродинамическая поверхность, предназначенная для обеспечения продольной устойчивости, продольной управляемости летательного аппарата.
СТАБИЛИЗАТОР — (Tail plane) неподвижная горизонтальная часть хвостовой поверхности самолета; служит для продольной устойчивости самолета в полете. Общее значение устройство или прибор для сообщения телу устойчивости при движении. Самойлов К. И. Морской словарь … Морской словарь
СТАБИЛИЗАТОР — (от лат. stabilis устойчивый) в авиации неподвижная часть горизонтального оперения летательного аппарата, служащая для обеспечения продольной устойчивости в полете. На сверхзвуковых самолетах иногда устанавливают подвижные стабилизаторы … Большой Энциклопедический словарь
СТАБИЛИЗАТОР — СТАБИЛИЗАТОР, в АЭРОДИНАМИКЕ вертикальные или горизонтальные ребра на корпусе оперения летательного аппарата, предотвращающие беспорядочную качку и соответственно обеспечивающие продольную устойчивость. Стабилизаторы обычно объединяются в так… … Научно-технический энциклопедический словарь
СТАБИЛИЗАТОР — СТАБИЛИЗАТОР, стабилизатора, муж.
(от лат. stabilis устойчивый, постоянный) (тех.). 1. Неподвижная горизонтальная плоскость в хвостовой части аэроплана или дирижабля, придающая продольную устойчивость аппарату в воздухе. 2. Аппарат для уменьшения … Толковый словарь Ушакова
СТАБИЛИЗАТОР — СТАБИЛИЗАТОР, а, муж. (спец.). 1. Прибор, устройство для придания устойчивости, постоянного положения, состояния чего н. (в автоматике, в авиации), для стабилизации какого н. процесса. С. летательного аппарата. С. тока. С. напряжения. 2. Вещество … Толковый словарь Ожегова
стабилизатор
Стабилизатор — [лат. stabilis устойчивый] – компонент, обеспечивающий связность бетонной смеси и сопротивление самопроизвольному расслоению, вт. ч. водоотделению. [Ушеров Маршак А. В. Бетоноведение: лексикон. М.: РИФ Стройматериалы. 2009. – 112 с.]… … Энциклопедия терминов, определений и пояснений строительных материалов
Привод стабилизатора Boeing-737: lx_photos — LiveJournal
Вот, казалось бы — ты такой здатый пелот.
Летишь себе. Борешь стихию, бессмысленно рога болтаешь туда-сюда, стюр щупаешь, спишь досыта, все дела.
Зачем тебе ещё вот эта железяка с хитрым винтом?
Как ни крути, а стабилизатор самолёту нужен.
Для некоторых любителей авиации будет откровением, но я всё же скажу.
Здравствуйте, меня зовут Lx, и я алкоголик.
Да нет, бред какой-то… хера с два я признаюсь!
Земля вращается вокруг Солнца!
Тоже немного не то. Не, так-то да. Но не сегодня.
А!
Стабилизатор дует вниз! Вот!
Итак.
Как ни странно, но подъёмная сила стабилизатора направлена вниз.
Крыла — вверх, а стабилизатора — вниз.
Это сделано для балансировки самолёта.
Потому что подъёмная сила (ПС) крыла приложена сзади центра масс. И она направлена вверх, а потому создаёт пикирующий момент.
Поэтому стабилизатор — как маленькое перевёрнутое крыло — имея более выгнутую поверхность снизу, создаёт силу, направленную вниз, и в полёте компенсирует пикирующий момент от крыла своим кабрирующим моментом.
Именно поэтому на больших самолётах размещают в стабилизаторе дополнительный топливный бак и создают этой массой силу, разгружающую стабилизатор и бесплатно помогающую балансировать самолёт в продольном направлении
(на небольших самолётах вроде B737 и A320 таких баков обычно нет).
Но тут есть одна опасность. Так как масса этих двигателей не зависит от аэродинамики, а значит, и скорости полёта, то при уменьшении скорости они будут тянуть хвост вниз, но крыло тянуть вверх не будет. А это чревато превышением безопасного угла атаки, невозможностью разгона самолёта и критической потерей скорости со сваливанием в плоский штопор. Что и произошло на Ту-154 в 2006 году под Донецком. Поэтому иметь стабилизирующее воздействие от аэродинамических сил полезнее: при его потере у самолёта с самым распространённым расположением двигателей — на пилонах спереди крыла — сама собой возникает сила, опускающая нос и разгоняющая скорость.

Однако мы отвлеклись.
У нас имеется стабилизированный самолёт, да?
Почему бы так и не летать с жёстко закреплённым стабилизатором, изредка толкая штурвал или немножко подтягивая на посадке?
Так как всем нам хочется летать быстро, то для этого нужно тонкое (сверху вниз) и узкое (спереди назад) крыло.
Но нам также хочется приземляться не на сверхсветовой скорости, а медленно и вальяжно. А для этого нужно толстое, широкое и кривое крыло.
Поэтому придумали закрылки — это часть крыла, выдвигающаяся назад и вниз, увеличивая площадь крыла и его кривизну спереди назад. Они позволяют увеличить подъёмную силу на малых скоростях полёта.
Всем хороши закрылки. Захотел — вывалил. Захотел — убрал.
Но.
При выпуске закрылков центр давления крыла смещается заметно назад. И неподвижный стабилизатор не может уже сбалансировать самолёт.
Поэтому пришлось делать стабилизатор поворотным.
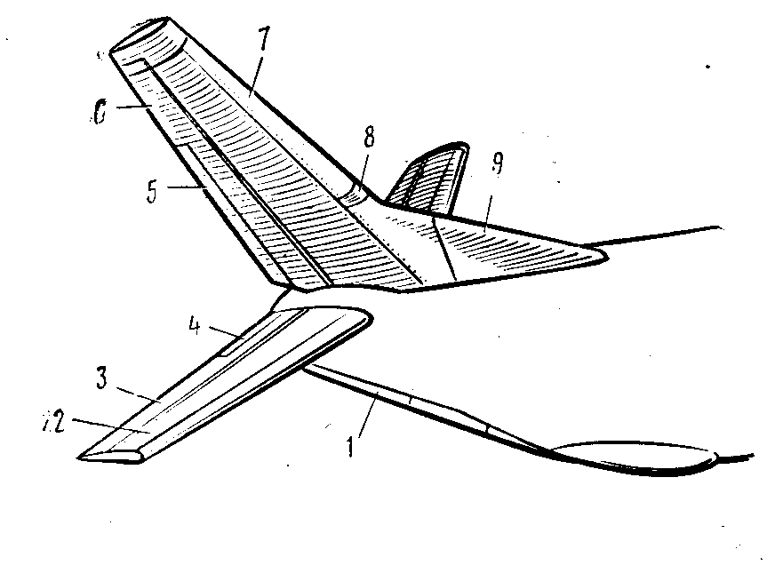
По рисунку — стабилизатор крепится шарнирно в двух задних точках к фюзеляжу.
А передняя точка крепления может перемещаться вверх и вниз.
Перемещается стабилизатор обычно винтовым подъёмником.
Установлен он в негерметичной части фюзеляжа, сзади гермошпангоута, которым заканчивается салон.
Приводится на 737 он тросовой проводкой, тянущейся через весь аэроплан к кабине пилотов.
Пилоты управляют стабилизатором, нажимая клавиши на рогах штурвала.
Также стабилизатор приводится в действие автоматически при сильном отклонении штурвала на пикирование или кабрирование. Когда система понимает, что запаса управления рулём высоты не хватает для выполнения нужного манёвра.
Схемка привода стабилизатора.
В приводе есть электромагнитные муфты, фиксирующие последнее положение привода, и расцепляющиеся для его вращения при подаче питания. Они, и система управления вообще, питаются постоянным 28 В. Моторы — от переменки.
Индикация положения стабилизатора для пилотов есть на стойке управления — это шкалы по бокам, где зелёным обозначена зона взлётного диапазона положений.
Справа внизу фотки видны два тумблера.
Они нормально замкнуты во включенном положении и предохранены от размыкания упорами.
Эти тумблеры позволяют отключить управление стабилизатором в нештатной ситуации. Левый — от пилотов, правый — от автопилота. Например, если залипнет тумблер на рогах пилота, и стабилизатор будет перемещаться в одну сторону безостановочно.
Для резервного управления стабилизатором по бокам стойки управления есть два барабана — возле колена КВС и 2П.
На барабанах есть откидывающаяся ручка,
за которую можно вручную вращать барабан .
Далее вниз от барабанов проходит цепь, и дальше оно переходит в тросы, идущие в зад.
Всё это хозяйство жёстко связано, так что при любом вращении винта привода движение передаётся на барабаны, и в кабине сразу видно перемещение стабилизатора.
Как уже сказано, пилоты перемещают стабилизатор с рогов штурвалов.
На внешнем роге (том, что ближе к борту) есть два тумблера.
Одновременное их нажатие приводит к срабатыванию электродвигателя на приводе стабилизатора, двигатель вращает винт, а уж по нему через шариковый подшипник ездит стабилизатор, изменяя угол установки.
Для предохранения система не будет перемещать стабилизатор, если штурвал упёрт в одну сторону, а тумблеры замкнуты на перемещение стабилизатора в другую. Забывание этого нюанса пилотами в стрессовой ситуации, кажется, способствовало развитию опасных положений в нескольких катастрофах.
На шпангоуте фюзеляжа, к которому закреплён привод, также прикреплены концевики разных систем, которым важны дискретные сигналы о положении стабилизатора.
Доступ в отсек стабилизатора есть через лючок в задней нижней части фюзеляжа, перед отсеком ВСУ.
Залезнув, обнаруживаем полусферический задний гермошпангоут, а также кучу лишних тросов и трубок.
Сзади отсека, вплотную к отсеку ВСУ, находится предмет нашего сегодняшнего вожделения.
Как видно, привод стабилизатора имеет снизу барабан с тросами. Но него наматываются и сматываются тросы при вращении.
Слева по фоткам есть электромотор привода пилотами. Он трёхфазно-переменен и имеет две скорости вращения — при выпущенных закрылках скорость большая, при убранных — маленькая.
Считается, что закрылки выпускаются в близости земли, когда скорость самолёта меньше, и для перебалансировки его нужно быстрое перемещение стабилизатора на бОльшие углы.
Справа по фотке на приводе есть электромотор автопилота.
Когда автопилот включен, то система стремится уменьшить использование руля высоты (РВ) для управления тангажом, и после его отклонения автопилотом он через некоторое время перемещает стабилизатор целиком, компенсируя отклонение РВ. Некоторые считают, что это снижает сопротивление самолёта, так как для такого же изменения пикирующего момента не нужно вытарчивать рули высоты в поток, а достаточно немножко повернуть весь стабилизатор.
Концевики на железном Боинге выполнены так же кондово.
Они находятся на двух планках, и приводятся через елозящую по ним раму с плоскостями разных уровней.
Ролики у них выточены из цельного куска текстолита.
Думаю, от этой всей конструкции уважаемый fixik_papus получит несомненное удовольствие 🙂
У него с концевиками, помнится, были сложные отношения 🙂
На поверхностях художественно наляпана консистентная смазка, которой щедро смазывается винт и которая не менее щедро изо всяких мест потом вылазит.
Вот, собственно, и всё.
… а чего я вообще туда полез?
А это нам просто выдали работу по проверке состояния некоторых разъёмов на самолёте.
Разъёмы оказались в порядке.
Как-то так, да.
А, ещё видео.
Как-то медленно он тут едет.
и теперь…
да я вообще офигел!
53(19.2%)
ну ничего себе…
33(12.0%)
завещание куда сдавать?
19(6.
9%)
только Боингом!
21(7.6%)
только Аэрбасом!
13(4.7%)
только поездом!
15(5.4%)
да я вообще теперь из дома не выйду!
25(9.
1%)
ну ты дал…
16(5.8%)
мир уже никогда не будет прежним
41(14.9%)
это какой-то позор
11(4.0%)
Фотографии в альбоме «737 Stab trim actuator», автор Lx-photos на Яндекс.
Фотках
Горизонтальное оперение самолета. Стабилизатор самолета
Эффективность оперения в значительной степени зависит от его расположения на самолете. Желательно, чтобы на всех режимах полета оперение не попадало бы в зону потока, заторможенного крылом, гондолами двигателей, фюзеляжем или другими частями самолета. Большое влияние на эффективность оперения оказывает и взаимное расположение его частей ВО и ГО.
За крылом самолета образуется зона заторможенного потока, носящая название спутной струи. Размеры этой зоны зависят от скорости полета, угла атаки крыла и его параметров. Точные границы спутной струи определяются на основании аэродинамических продувок. В спутной струе значительно уменьшаются скорости, больших значений достигают углы скоса потока, зона насыщена вихрями.
По этим причинам размещение в спутной струе горизонтального оперения привело бы к снижению его эффективности (из-за уменьшения скорости потока), ухудшению характеристик устойчивости (из-за больших углов скоса) и возникновению вибраций при интенсивном вихреобразовании.
При выборе положения горизонтального оперения необходимо, чтобы на всех режимах полета оно не попадало бы в спутную струю.
Рис.4 Рис.5
Горизонтальное оперение располагается либо выше (рис.4а), либо ниже (рис.4б) спутной струи.
При выборе положения горизонтального оперения необходимо также обеспечить достаточное удаление его от реактивной струи двигателей.
Взаимное расположение горизонтального и вертикального оперений должно быть таким, чтобы в полете одна часть оперения возможно меньше затеняла другую. При полете самолета на больших углах атаки или со скольжением определенная часть вертикального оперения попадает в аэродинамическую тень горизонтального оперения. Самолет, у которого вертикальное оперение и особенно руль направления сильно затенены, обладает плохими штопорными характеристиками (затруднён выход из штопора).
Затенение вертикального оперения можно уменьшить, размещая горизонтальное оперение либо позади, либо впереди вертикального, либо на верхней его части.
Каждый из этих вариантов имеет свои преимущества и недостатки.
Если правильно выбрано плечо горизонтального оперения, то при размещении вертикального оперения впереди горизонтального необходимо увеличить площадь вертикального оперения для обеспечения потребной его эффективности, а это приведет к увеличению его массы и сопротивления и к увеличению крутящего момента фюзеляжа. При размещении же вертикального оперения за горизонтальным необходимо будет увеличить длину фюзеляжа, что вызовет увеличение массы фюзеляжа и его сопротивления. При размещении горизонтального
оперения на вертикальном усложняется конструкция крепления и увеличиваются нагрузки киля.
В настоящее время на тяжелых транспортных и пассажирских самолетах с двигателями, установленными на пилонах по бокам хвостовой части фюзеляжа, широкое распространение получила схема Т-образного оперения.
В этом случае обеспечивается вынос горизонтального оперения из струи двигателей. К преимуществам такой схемы также относится повышение эффективности вертикального оперения (в этом случае горизонтальное оперение играет роль концевой шайбы) и уменьшение возможности его затенения.
Крупным недостатком этой схемы является возможность попадания самолета в режим так называемого «глубокого срыва».
При превышении допустимых значений угла атаки (это может произойти случайно при сильном вертикальном порыве) и наступлении срыва на крыле спутная струя может охватить все горизонтальное оперение и эффективность руля окажется недостаточной.
Для повышения путевой устойчивости и эффективности вертикального оперения на больших углах скольжения на самолетах устанавливаются форкили и подфюзеляжные гребни (рис.6).
Окончательно вопрос размещения оперения на самолете и взаимного расположения отдельных его частей решается на основании результатов продувок, а затем и летных испытаний.
8.1. Обоснование аэродинамической схемы самолёта.
Современный самолёт
представляет собой сложную техническую
систему, элементы которой, каждый в
отдельности и все в совокупности, должны
иметь максимальную надёжность. Самолёт
в целом должен отвечать заданным
требованиям и обладать высокой
эффективностью при соответствующем
техническом уровне.
При разработке проектов самолётов нового поколения, которые войдут в эксплуатацию в начале 2000-х годов, большое значение придаётся достижению высокой технико-экономической эффективности. Эти самолёты должны не только обладать хорошими её показателями на момент выхода в эксплуатацию, но и располагать потенциальной возможностью модификации для систематического повышения эффективности на протяжении всего периода серийного производства. Это необходимо для того, чтобы с минимальными затратами обеспечить реализацию новых требований и достижений технического прогресса.
При рассмотрении схемы пассажирского самолёта местных авиалиний целесообразно изучить все ранее созданные в этом классе самолёты.
Развитие пассажирской
авиации активно началось после Второй
Мировой войны. С тех пор схема самолётов
этого класса, постепенно претерпевая
изменения пришла к наиболее оптимальной
на сегодняшний день. В большинстве
случаев это самолет, выполненный по
нормальной аэродинамической схеме,
моноплан.
Двигатели обычно расположены
под крылом (ТВД), под крылом на пилонах
или на крыле (ТРД). Хвостовое оперение
выполнено скорее по Т-образной схеме,
иногда по нормальной. Сечение фюзеляжа
состоит из дуг окружностей. Шасси
выполнено по схеме с носовым колесом,
основные стойки часто многоколёсные и
многоопорные, убирающиеся либо в
удлинённые мотогондолы турбовинтовых
двигателей (для самолётов весом примерно
до 20 тонн), либо в наплывы на фюзеляжа.
Типичная компоновка фюзеляжа — кабина пилотов в носовой части, длинная пассажирская кабина.
Отклонение от этой устоявшейся компоновочной схемы может быть вызвано только лишь какими-то особенными требованиями, предъявляемыми к самолёту. В остальных же случаях при разработке пассажирского самолёта конструкторы стараются придерживаться именно этой схемы, поскольку она является практически оптимальной. Ниже приведено обоснование применения данной схемы.
Использование нормальной аэродинамической схемы для самолётов транспортной авиации обусловлено в первую очередь её достоинствами:
Хорошая продольная
и путевая устойчивость.
Благодаря этому
свойству нормальная схема сильно
выигрывает у схем «утка» и «бесхвостка».
С другой стороны данная схема обладает достаточной для неманевренного самолёта управляемостью. Вследствие наличия этих свойств у нормальной аэродинамической схемы, самолёт прост в управлении, что даёт возможность эксплуатации его лётчикам любой квалификации. Тем не менее, нормальной схеме присущи следующие недостатки:
Большие потери на балансировку, что при прочих равных условиях сильно снижает качество самолёта.
Полезная массовая отдача у нормальной схемы ниже, поскольку масса конструкции у неё обычно больше (хотя бы потому, что у «бесхвостки» горизонтальное оперение отсутствует вовсе, а у «утки оно создаёт положительную подъёмную силу, работая как крыло и следовательно, разгружая крыло, что даёт возможность уменьшить площадь последнего).
Влияние скоса
потока за крылом на горизонтальное
оперение хоть и не столь критично,
как влияние ПГО у «утки» но, тем не
менее, с этим приходится считаться,
разнося крыло и горизонтальное оперение
по высоте.
Так же следует учесть тот
факт, что самолетам, выполненным по
схемам «утка» и «бесхвостка» при взлёте
и посадке требуются большие углы атаки
,
что делает конструктивно практически
невозможным использование стреловидных
крыльев большого и среднего удлинения,
так как применение таких крыльев и
больших углов атаки связано с очень
большой высотой шасси. Из-за этого в
схемах «утка» и «бесхвостка» используются
только крылья малого удлинения
треугольной, готической, оживальной
или серповидной формы в плане. Вследствие
малого удлинения такие крылья имеют
низкое аэродинамическое качество
на дозвуковых режимах полёта.
Эти соображения определяют целесообразность
использования схем «утка» и «бесхвостка»
на самолётах, у которых основным
режимом полёта является полёт на
сверхзвуковой скорости.
Сравнивая все достоинства и недостатки трёх аэродинамических схем, приходим к заключению о целесообразности использования на дозвуковом пассажирском самолёте классической аэродинамической схемы.
8.
2. Расположение
крыла относительно фюзеляжа.
Для пассажирских самолётов выбор схемы крыла относительно фюзеляжа связан в первую очередь с компоновочными соображениями. Потребность в свободных объёмах внутри фюзеляжа не позволяет использовать схему среднеплана, т. к. с одной стороны нельзя пропустить центроплан крыла сквозь фюзеляж, а с другой стороны использование крыла без центроплана, со стыковкой консолей к силовому кольцевому шпангоуту, невыгодно в весовом отношении.
В отличии от среднеплана схемы высокоплан и низкоплан не мешают созданию единой грузовой кабины. При выборе между ними предпочтение отдаётся высокопланной схеме, поскольку проектируемый самолёт будет использоваться на аэродромах разного класса, в том числе и на грунтовых ВПП, где отсутствуют подъездные трапы. Она позволяет максимально уменьшить высоту пола над уровнем земли, что значительно упрощает и облегчает посадку пассажиров и погрузку багажа через входную дверь-трап.
С аэродинамической
точки зрения высокоплан выгоден тем,
что позволяет получать на крыле
распределение циркуляции близкой к
эллиптической (при условно одинаковой
форме крыла в плане) без провала в районе
фюзеляжа, как у схем низкоплана и
среднеплана.
При этом то, что высокоплан
обладает сопротивлением интерференции
хотя и большим, чем у среднеплана, но
меньше чем у низкоплана, позволяет
получать высокое качество самолёта,
построенного по такой схеме. При низком
расположении крыла сопротивление (при
скоростях с М(при
)
у низкоплана больше, чем у среднеплана
и высокоплана (Рис. 8.2.1.).
Схема высокоплан обладает следующими компоновочными и конструктивными недостатками:
Шасси невозможно разместить на крыле, либо (на небольших самолётах) основные опоры шасси получаются громоздкими и тяжёлыми. В этом случае шасси размещается, как правило, на фюзеляже, нагружая его большими сосредоточенными силами.
При аварийной посадке крыло (особенно если на нём установлены двигатели) стремится раздавить фюзеляж и находящуюся в нем пассажирскую кабину. Для устранения этой проблемы приходиться усиливать конструкцию фюзеляжа в районе крыла и значительно утяжелять его.
При аварийной
посадке на воду фюзеляж уходит под
поверхность воды, затрудняя тем самым
аварийную эвакуацию пассажиров и
экипажа.![]()
8.3. Схема оперения.
Для пассажирских самолётов конкурирующими являются две схемы оперения: нормальная и Т-образная.
Мощная спутная
струя от воздушного винта неблагоприятно
влияет на обычное низко расположенное
горизонтальное хвостовое оперение и
может ухудшить устойчивость самолета
на некоторых режимах полета. Высоко
расположенное горизонтальное оперение
существенно повышает устойчивость
самолета, так как оно выходит за пределы
зоны влияния спутной струи. При этом
эффективность киля также повышается.
Обычный киль эквивалентной геометрии
должен иметь площадь на 10% больше.
Поскольку высоко расположенное
горизонтальное оперение имеет большее
горизонтальное плечо из-за скоса киля
назад, для создания необходимого
продольного момента требуется усилие
на ручке, вдвое меньшее, чем при обычном
горизонтальном оперении. Кроме того,
Т-образное хвостовое оперение обеспечивает
более высокий уровень комфорта для
пассажиров, так как оно уменьшает
вибрацию конструкции от воздействия
спутной струи от воздушного винта.
Вес
обычного и Т-образного оперений примерно
одинаков.
Применение Т-образного хвостового оперения увеличивает стоимость самолета менее чем на 5 % за счет увеличения затрат на разработку и производственную оснастку. Однако преимущества этого оперения оправдывают его использование.
Среди прочих достоинств Т-образного оперения являются:
Горизонтальное оперение представляет собой «концевую шайбу» для вертикального оперения, что повышает эффективное удлинение киля. Это позволяет уменьшить площадь вертикального оперения и этим облегчить конструкцию.
Горизонтальное оперение отводится от зоны воздействия на его конструкцию звуковых волн, которые могут создать опасность усталостного разрушения. Срок службы горизонтального оперения при этом увеличивается.
8.4. Выбор количества двигателей и их размещения.
Необходимое число
двигателей для силовой установки
самолёта зависит от ряда факторов,
обусловленных как назначением самолёта,
так и его основными параметрами и лётными
характеристиками.
Основными критериями при выборе числа двигателей на самолёте являются:
Самолёт должен обладать необходимой стартовой тяговооружённостью;
Самолёт должен обладать достаточной надёжностью и экономичностью;
Эффективная тяга силовой установки должна быть возможно большей;
Относительная стоимость двигателей должна быть возможно меньшей;
При формальном подходе обеспечить нужную величину стартовой тяговооружённости проектируемого самолёта можно каким угодно числом двигателей (в зависимости от стартовой тяги одного двигателя). Поэтому при решении данного вопроса необходимо ещё и учитывать специфику назначения самолёта и требования, предъявляемые к его компоновке и силовой установке. Помощь при выборе числа двигателей может оказать изучение самолётов аналогичного класса уже использующихся на авиалиниях.
При развитии
пассажирских самолётов местных авиалиний
конструкторы пришли со временем к
оптимальному количеству числа двигателей
на самолётах данного класса — два
двигателя.
Отказ от использования одного
двигателя объясняется тем, что появляются
большие сложности с его компоновкой, а
также один двигатель не удовлетворяет
безопасности полётов. Использование
трёх и более двигателей неоправданно
утяжелит и усложнит конструкцию,
следствием этого явится увеличение
стоимости самолёта в целом и снижение
его боеготовности.
При выборе места установки двигателей было рассмотрено несколько вариантов их размещения. В результате анализа выбор был остановлен на схеме крепления двигателей под крылом. Достоинствами этой схемы являются:
Крыло разгружается в полёте двигателями, что позволяет уменьшить его массу на 10… 15%
При такой схеме компоновки СУ увеличивается критическая скорость флаттера — двигатели являются противофлаттерными балансирами, сдвигая ЦМ сечений крыла вперед.
Возможно надёжное изолирование крыла от двигателей при помощи противопожарных перегородок.
Обдув механизации крыла струёй от винтов увеличивает её эффективность.
К недостаткам схемы можно отнести:
Большие
разворачивающие моменты при отказе в
полёте одного двигателя.
— Далеко
расположенные от земли двигатели тяжелее
обслуживать.
На сегодняшний день на неманевренных дозвуковых самолётах нашли применение два типа двигателей — ТВД и ТРДД. Решающее значение при выборе типа двигателя имеет скорость крейсерского полёта. ТВД выгодно использовать на скоростях полёта, соответствующих М = 0,45…0,7 (Рис. 8.4.2.). В этом диапазоне скоростей он гораздо экономичнее ТРДД (удельный расход топлива меньше в 1,5 раза). Использование ТВД на скоростях, соответствующих М = 0,7…0,9 невыгодно, т. к. он имеет недостаточную удельную мощность и повышенный уровень шума и вибраций на самолёте.
Принимая во внимание все вышеперечисленные факты, и исходя из исходных данных на проектируемый самолёт, выбор для СУ делаем в пользу ТВД.
8.5. Итоги проведённого анализа.
Проведённый выше анализ показывает, что для пассажирского ближнемагистральнолго самолёта применительны две основные схемы (Рис. 8.5.1.).
Схема 1: Низкоплан
с низкорасположенным Г.О., двигателями
в крыле, и шасси расположенными в
мотогондолах.
Схема 2: Высокоплан с Т-образным оперением, двигателями под крылом и шасси расположенными в гондолах на фюзеляже.
С точки зрения эксплуатации, аэродинамики и экономики наиболее выгодна вторая схема для данного типа самолёта (Таблица 8.5.1.).
Таблица 8.5.1.
Параметры | |||
По расположению двигателей. | При расположении двигателя на крыле лопасти винта находятся близко к поверхности земли, что непозволяет эксплуатацию на грунтовых ВПП. | Расположение двигателя под крылом обеспечивает необходимое расстояние лопастей винта относительно поверхности земли. | |
По расположению двигателей. | Для обслуживания двигателя приходится залезать на крыло. | Для обслуживания двигателя необходимо пользоваться стремянкой. | |
По
расположению шасси. | Из-за большой высоты стойка основной опоры шасси имеет большую массу. | Меньшая высота основной стойки шасси позволяет уменьшить её массу. | |
По расположению пола. | Высоко расположенный пол затрудняет посадку и высадку пассажиров без применения подъездных трапов. | Низко расположенный пол и дверь-трап упрощают посадку пассажиров и погрузку ручной клади. | |
По типу оперения. | Габаритные размеры оперения затрудняет размещение самолёта в ангарах, но низко расположенное ГО легче в обслуживании. | В связи с меньшими габаритами ВО, не вызывает проблем с размещением в ангарах, но Т-образный стабилизатор труднее в обслуживать. |
8.6. Статистика раннее созданных самолётов данного класса.
Что нам известно про стабилизатор самолета? Большинство обывателей просто пожмет плечами. Те, кто в школе любил физику, возможно, смогут сказать пару слов, но, конечно, на этот вопрос, скорее всего, смогут наиболее полно ответить специалисты.
Между тем, это очень важная часть, без которой полет фактически невозможен.
Принципиальное устройство самолета
Если попросить нарисовать нескольких взрослых авиалайнер, картинки будут примерно одинаковыми и будут различаться лишь в деталях. Схема самолета, скорее всего, будет выглядеть следующим образом: кабина, крылья, фюзеляж, салон и так называемое хвостовое оперение. Кто-то нарисует иллюминаторы, а кто-то забудет о них, возможно, будут упущены еще какие-нибудь мелочи. Возможно, художники даже не смогут ответить, для чего необходимы те или иные детали, мы просто не задумываемся об этом, хотя видим самолеты довольно часто, как вживую, так и на картинках, в кино и просто по телевизору. И это на самом деле и есть принципиальное устройство самолета — остальное, по сравнению с этим, лишь мелочи. Фюзеляж и крылья служат собственно для подъема авиалайнера в воздух, в кабине производится управление, а в салоне находятся пассажиры или груз. Ну, а как насчет хвостового оперения, для чего же оно нужно? Не для красоты ведь?
Хвостовое оперение
Те, кто водит машину, отлично знают, как поехать в сторону: нужно лишь повернуть руль, вслед за которым будут двигаться и колеса.
Но самолет — совсем другое дело, ведь в воздухе нет никаких дорог, и для управления нужны какие-то другие механизмы. Здесь в дело вступает чистая наука: на летящую машину действует большое количество различных сил, и те, что полезны, усиливаются, а остальные минимизируются, в результате чего достигается некий баланс.
Вероятно, почти каждый, кто видел в своей жизни авиалайнер, обращал внимание на сложную конструкцию в его хвостовой части — оперение. Именно эта сравнительно небольшая часть, как это ни странно, управляет всей этой гигантской машиной, заставляя ее не только поворачивать, но и набирать или сбрасывать высоту. Оно состоит из двух частей: вертикальной и горизонтальной, которые, в свою очередь, тоже делятся надвое. Руля тоже два: один служит, чтобы задавать направление движения, а другой — высоту. Кроме того, есть и часть, с помощью которой достигается продольная устойчивость авиалайнера.
Кстати, стабилизатор самолета может располагаться не только в его задней части.
Но подробнее об этом чуть позже.
Стабилизатор
Современная схема самолета предусматривает множество деталей, необходимых для поддержания безопасного состояния авиалайнера и его пассажиров на всех этапах полета. И, пожалуй, главной из них является стабилизатор, расположенный в задней части конструкции. Он представляет собой, по сути, всего лишь планку, поэтому удивительно, как такая сравнительно небольшая деталь может вообще каким-либо образом влиять на движение огромного авиалайнера. Но он в самом деле очень важен — когда происходит поломка этой части, полет может закончиться весьма трагично. Например, согласно официальной версии, именно стабилизатор самолета стал причиной недавнего крушения пассажирского «Боинга» в Ростове-на-Дону. По мнению международных экспертов, рассогласованность в действиях пилотов и ошибка одного из них привели в действие одну из частей оперения, переведя стабилизатор в положение, характерное для пике. У экипажа уже просто не получилось ничего предпринять, чтобы не допустить столкновения.
К счастью, самолетостроение не стоит на месте, и каждый следующий полет дает все меньше пространства для человеческого фактора.
Функции
Как очевидно из названия, стабилизатор самолета служит для контроля за его движением. Компенсируя и гася некоторые пики и вибрации, он делает полет более плавным и безопасным. Поскольку отклонения бывают как в вертикальной, так и в горизонтальной оси, управление стабилизатором осуществляется также в двух направлениях — поэтому он и состоит из двух частей. Они могут иметь самую разную конструкцию, в зависимости от типа и предназначения воздушного судна, но в любом случае присутствуют на любом современном самолете.
Горизонтальная часть
Она отвечает за балансировку по вертикали, не позволяя машине то и дело «клевать носом», и состоит из двух главных деталей. Первая из них — неподвижная поверхность, которая, собственно, и представляет собой стабилизатор высоты самолета. На шарнире к этой части прикреплена вторая — руль, обеспечивающий управление.
При нормальной аэродинамической схеме горизонтальный стабилизатор располагается в хвосте. Однако встречаются также конструкции, когда он находится перед крылом или их и вовсе два — в передней части и сзади. Встречаются также так называемые схемы «бесхвостка» или «летающее крыло», вообще не имеющие горизонтального оперения.
Вертикальная часть
Эта деталь обеспечивает воздушному судну устойчивость направления в полете, не позволяя ему вилять из стороны в сторону. Это тоже составная конструкция, в которой предусмотрены неподвижный вертикальный стабилизатор самолета, или киль, а также руль направления на шарнире.
Эта часть, как и крыло, в зависимости от назначения и требуемых характеристик, может иметь самую разную форму. Разнообразие достигается также и с помощью различий во взаимном расположении всех поверхностей и добавления дополнительных частей, таких как форкиль или подфюзеляжный гребень.
Форма и подвижность
Пожалуй, самым популярным в гражданской авиации сейчас является Т-образное оперение, при котором горизонтальная часть находится на конце киля.
Впрочем, встречаются и некоторые другие.
Некоторое время использовалось V-образное оперение, в котором обе части одновременно выполняли сразу функции как горизонтальной, так и вертикальной части. Сложное управление и относительно небольшая эффективность не позволили этому варианту широко распространиться.
Кроме того, встречается разнесенное вертикальное оперение, при котором его части могут находиться по бокам от фюзеляжа и даже на крыльях.
Что же касается подвижности, обычно стабилизирующие поверхности жестко закреплены относительно корпуса. Тем не менее встречаются варианты, особенно когда дело касается горизонтального оперения.
Если поменять угол относительно продольной оси можно на земле, стабилизатор такого типа называется переставляемым. Если же управление стабилизатором самолета может происходить и в воздухе, он будет подвижным. Это характерно для тяжелых авиалайнеров, нуждающихся в дополнительной балансировке. Наконец, на сверхзвуковых машинах применяется подвижный стабилизатор самолета, выполняющий также роль руля высоты.
Несущие поверхности, предназначенные для обеспечения устойчивости, управляемости и балансировки самолета, называют оперением.
Обеспечение продольной балансировки, устойчивости и управляемости самолета обычной схемы осуществляется горизонтальным оперением; путевая балансировка, устойчивость и управляемость — вертикальным; балансировка и управление самолета относительно продольной оси производятся при помощи элеронов или рулей крена, представляющих собой некоторую долю хвостовой части крыла. Оперение обычно состоит из неподвижных поверхностей, которые служат для обеспечения равновесия (балансировки) и устойчивости, и подвижных поверхностей, при отклонении которых создаются аэродинамические моменты, обеспечивающие равновесие (балансировку) и управление полетом. Неподвижная часть горизонтального оперения называется стабилизатором, а вертикального — килем.
К стабилизатору шарнирно крепится руль высоты, состоящий обычно из двух половин, а к килю — руль направления (рис.
57).
На рис. 57 показан принцип действия оперения при отклонении руля. Оперение (в рассматриваемом случае горизонтальное) обтекается воздушным потоком под некоторым углом атаки α г.о, не равным нулю.
Поэтому на оперении возникает аэродинамическая сила R г.о, которая благодаря большому плечу относительно центра тяжести самолета создает момент, уравновешивающий суммарный момент от крыла, тяги двигателей, фюзеляжа. Таким образом, момент оперения балансирует самолет. Отклонением руля в ту или другую сторону можно изменить не только величину, но и направление момента и таким образом вызвать поворот самолета относительно поперечной оси, т. е. управлять самолетом. Момент относительно оси вращения руля, возникающий от действия на него аэродинамической силы R p , обычно называют шарнирным моментом и обозначают M ш = R p a.
Величина шарнирного момента зависит от скорости полета (числа М), углов атаки и скольжения, угла отклонения руля, местоположения шарниров подвески и размеров руля.
Отклоняя рычаги управления, пилот должен приложить определенное усилие для преодоления шарнирного момента.
Сохранение приемлемых для пилота усилий, потребных для отклонения руля, достигается применением аэродинамической компенсации, которая будет рассмотрена ниже.
Эффективность рулей можно оценить по изменению величин продольного момента, моментов крена и рыскания при отклонении на один градус соответствующего руля. При малых скоростях полета эффективность рулей мало зависит от скорости полета (числа М). Однако при больших скоростях полета сжимаемость воздуха, а также упругие деформации конструкции заметно снижают эффективность рулей. Уменьшение эффективности руля при больших околозвуковых скоростях обусловливается главным образом упругой закруткой стабилизатора, киля, крыла, которая снижает общий прирост подъемной силы профиля от отклонения руля (см. рис. 57).
Степень упругой закрутки профиля при отклонении руля зависит от величины действующего на профиль аэродинамического момента (относительно центра жесткости профиля), а также от жесткости самой конструкции.
Малая относительная толщина оперения скоростных самолетов, а значит, малая жесткость может вызвать явления реверса управления.
Уменьшение эффективности рулей при их обтекании сверхзвуковыми скоростями вызвано другими причинами. При сверхзвуковом обтекании добавочная подъемная сила при отклонении руля возникает только на руле, неподвижная часть оперения (киль, стабилизатор) участия в создании дополнительной аэродинамической силы не принимает. Поэтому для получения достаточной степени управляемости необходимо большее отклонение руля или увеличение площади отклоняемой поверхности. С этой целью на сверхзвуковых самолетах устанавливается подвижной управляемый стабилизатор, который не имеет руля высоты. То же самое относится к вертикальному оперению. На сверхзвуковых самолетах возможно применение поворотного киля без руля поворота.
Изменение направления полета достигается путем поворота стабилизатора и киля. Углы отклонения стабилизатора и киля значительно меньше углов отклонения соответствующих рулей.
Отклонение безрулевых поверхностей осуществляется с помощью необратимых самотормозящих гидравлических или электрических силовых устройств. Безрулевое оперение обеспечивает эффективное управление и балансировку самолета в большом диапазоне скоростей, от малых дозвуковых до больших сверхзвуковых, а также в большом диапазоне центровок.
Элероны (рули крена) располагаются на концевой части крыла (рис. 58). Принцип действия элеронов заключается в перераспределении аэродинамической нагрузки по размаху крыла. Если, например, левый элерон отклоняется вниз, а правый вверх, то подъемная сила левой половины крыла возрастет, а правой уменьшится. В результате появляется момент, накреняющий самолет. Обеспечить достаточную эффективность рулей крена у сверхзвуковых самолетов трудно. Малые толщины крыла и особенно его концевых участков приводят к тому, что при отклонении элеронов крыло закручивается в сторону, противоположную отклонению элеронов. Это резко снижает их эффективность. Увеличение жесткости концевых участков крыла приводит к увеличению веса конструкции, что нежелательно.
В последнее время появились самолеты с так называемыми внутренними элеронами (рис. 58, б). Если обычные (рис. 58, а) элероны устанавливаются вдоль концевой части крыла, то внутренние элероны располагаются ближе к фюзеляжу. При одинаковой площади элеронов за счет уменьшения плеча относительно продольной оси самолета эффективность внутренних элеронов при полете на малых скоростях снижается. Однако на большой скорости полета внутренние элероны оказываются более эффективными. Возможна одновременная установка внешних и внутренних элеронов. В этом случае при полете на малых скоростях используются внешние элероны, а на больших скоростях — внутренние. Внутренние элероны при взлете и посадке могут использоваться как закрылки.
Элероны, занимая сравнительно большую долю размаха крыла, создают трудности размещения механизации крыла по всему размаху, вследствие чего эффективность последней снижается. Стремление повысить эффективность средств механизации привело к созданию интерцепторов.
Интерцептор представляет собой небольшую плоскую или слегка искривленную пластину, расположенную вдоль размаха крыла, которая в полете скрыта в крыле. При пользовании интерцептор выдвигается вверх из левой или правой половины крыла, приблизительно по нормали к поверхности крыла, и, вызывая срыв воздушного потока, приводит к изменению подъемной силы и крену самолета. Обычно интерцептор работает совместно с элероном и выдвигается на той части крыла, на которой элерон отклоняется вверх.
Таким образом, действие интерцептора суммируется с действием элерона. Применение интерцепторов позволяет уменьшить длину элерона и за счет этого увеличить размах закрылков, следовательно, повысить эффективность механизации крыла.
На некоторых самолетах интерцепторы используются как тормозные щитки и в этом случае одновременно отклоняются вверх на обеих частях крыла только после приземления самолета или в процессе прерванного взлета. На других самолетах интерцепторы для торможения выдвигаются на некоторую часть полного хода, а оставшаяся часть хода может быть использована для поперечной управляемости.
Высота полностью выдвинутого интерцептора составляет 5-10% хорды крыла, а длина-10-35% полуразмаха. Для сохранения большей плавности обтекания крыла и уменьшения срывного сопротивления интерцепторы иногда делают не сплошными вдоль размаха, а гребенчатыми. Эффективность таких прерывателей несколько меньше, чем сплошных, но зато вследствие ослабления срывных явлений уменьшается сопутствующая им тряска крыла и хвостового оперения.
Используемая литература: «Основы авиации» авторы: Г.А. Никитин, Е.А. Баканов
Скачать реферат: У вас нет доступа к скачиванию файлов с нашего сервера.
Стабилизатор самолета. фото. хвост — О самолётах и авиастроении
Стабилизатор самолета выступает в качестве несущей хвостовой поверхности и несёт ответственность за продольную устойчивость воздушного судна.
В отличие от крыльев он имеет симметрично выпуклый профиль по двум поверхностям. Так имеется возможность руководить рулями высоты в различных условиях их положения. При несимметричного профиля обтекание стабилизатора не будет однообразным, а за ним и рули высоты при опускании либо поднятии будут обтекаться неодинаково.
Необходимо подчеркнуть, что устройство стабилизатора фактически ничем не отличается от устройства крыла. Он складывается из двух лонжеронов (заднего и переднего), раскосов, нервюр, передней кромки, расчалок, мелких деталей и обода. Его конструктивная изюминка содержится в том, что задний лонжерон выступает в качестве подробности, формирующей заднюю кромку.
Рули высоты подвешены к заднему лонжерону.
Лонжероны стабилизатора имеют коробчатую форму. Причем на некоторых конструкциях У-2 лонжероны делаются цельными: задний – однотаврового сечения, передний – двутаврового.
Коробчатые лонжероны более легкие, но создавать их сложнее. По направлению к консолям сечение лонжеронов значительно уменьшается. В соответствии с профилем стабилизатора задний лонжерон имеет мало громадную высоту.
Через задний лонжерон проходит 7 вильчатых болтов, предназначенных для подвески и установки стабилизатора рулевой высоты. Передний лонжерон имеет 2 болта, каковые крепят на фюзеляже стабилизатора.
Нервюры устроены совершенно верно таким же образом, как и нервюры крыла: главные нервюры коробчатого типа, простые облегчены (они имеют одну стенку с облегчающими прорезями). Полки нервюр стабилизатора в отличие от нервюр крыла состоят не из сосны, а из липы. Второе их отличие пребывает в том, что у них нет хвостовой части.
Что касается раскосов стабилизатора самолета, то они являются те же коробчатые нервюры, но поставленные под наклоном. Они сходятся посредине заднего лонжерона в неспециализированный узел.
Для жесткости стабилизатор самолета расчален четырехмиллиметровой проволокой.
Обход стабилизатора, как и обход крыльев, складывается из кольчугалюминиевых швеллерных полос, имеющих толщину в 0,8 мм. Обход – это продолжение передней кромки стабилизатора самолета и образовывает с ним единое целое.
Стабилизатор устанавливается в щели между фюзеляжем и нижней частью киля. В центре его переднего лонжерона для крепления стабилизатора установлены 2 вертикальных вильчатых болта, каковые соединяются на верхних лонжеронах фюзеляжа ушковыми болтами.
Задний лонжерон крепится 1 горизонтальным вильчатым болтом, что прикрепляется на отверстии железной гребенки, установленной на лонжероне киля.
В местах соединения раскосов с лонжеронами помещены все 3 вильчатых болта.
Снизу стабилизатор поддерживается посредством четырех подкосов (по 2 с каждой стороны). Они сделаны из металлической трубы и имеют эллипсовидное сечение. Подкосы крепятся на стабилизаторе под главными нервюрами, где на всех сторонах стабилизатора сформировались два пролета, а к нижнему лонжерону на узлах последнего полета.
У самолетов 1936 года выпуска усиленные ушки подкосов.
На финише подкосов находится вильчатый болт, благодаря которому регулируется их протяженность на протяжении установки на фюзеляж стабилизатора.
Передние подкосы меньше задних, что соответствует сужению хвостовой части, и имеют на обоих финишах регулировочные болты, тогда как на переднем подкосе имеется лишь 1 регулировочный болт, пребывающий на верхнем финише.
Стабилизатор неуправляемый в полете, но на земле его возможно отрегулировать и установить под определенным установочным углом.
В лонжероне киля для установки стабилизатора имеется гребенка с отверстиями.
Установка стабилизатора на конкретный угол в лонжероне киля осуществляется через гребенку с отверстиями. То либо иное отверстие для установки выбирается с учетом нагрузки самолета, тем самым создавая нужные для равновесия самолета условия.
Киль – орган путевой устойчивости, что разрешает воздушному судну самостоятельно сохранять заданное ему направление полета. В том случае, если самолет на протяжении полета отклонится в какую-то сторону (к примеру, из-за сильного порыва ветра), то киль, восприняв давление воздуха боковыми стенками, будет стремиться вернуть лайнер к прямолинейному полету. Хвост противодействует рвению самолета сбиваться с курса и «рыскать» в стороны.
Киль поставлен без движений и находится в плоскости продольной симметрии воздушного судна. Один его лонжерон поставлен вертикально, второй – под наклоном. Кроме этого он состоит их трех нервюр, раскосов, стрингеров и фанеры (и обшивки материи).
Изменять положение киля ни на земле перед полетом, ни в полете запрещено, потому, что лонжерон киля выступает замыкающей стойкой фюзеляжа.
Наклонно поставленным лонжероном образована передняя часть киля. На нижнем финише лонжерона надета обжимка из стали, выступающая в роли переднего узла крепления.
Вертикальный лонжерон представлен в виде целого бруска. Верхняя его часть крепит подробности киля, а нижняя связывает фермы задней части фюзеляжа.
Вертикальный и наклонный лонжероны соединены тремя горизонтальными нервюрами, каковые образуют форму профиля киля. Основание киля образовывает нижняя нервюра, по данной причине она более широкая. Срезанную форму имеет киль в верхней части, что сделано для прохода компенсатора руля направления.
Внизу вертикального лонжерона для присоединения к фюзеляжу надеты две обоймы, выступающие узлами крепления.
К вертикальному лонжерону подвешен руль направления при помощи 4 шарниров совершенно верно для того чтобы же устройства, какое имеют рули высоты.
Ту-154 . Работа механизации (закрылки) и стабилизатора
Увлекательные записи:
Похожие статьи, которые вам, наверника будут интересны:
Стабилизатор самолета. Общее устройство и управление самолетом
Что нам известно про стабилизатор самолета? Большинство обывателей просто пожмет плечами. Те, кто в школе любил физику, возможно, смогут сказать пару слов, но, конечно, на этот вопрос, скорее всего, смогут наиболее полно ответить специалисты. Между тем, это очень важная часть, без которой полет фактически невозможен.
Принципиальное устройство самолета
Если попросить нарисовать нескольких взрослых авиалайнер, картинки будут примерно одинаковыми и будут различаться лишь в деталях. Схема самолета, скорее всего, будет выглядеть следующим образом: кабина, крылья, фюзеляж, салон и так называемое хвостовое оперение. Кто-то нарисует иллюминаторы, а кто-то забудет о них, возможно, будут упущены еще какие-нибудь мелочи.
Возможно, художники даже не смогут ответить, для чего необходимы те или иные детали, мы просто не задумываемся об этом, хотя видим самолеты довольно часто, как вживую, так и на картинках, в кино и просто по телевизору. И это на самом деле и есть принципиальное устройство самолета — остальное, по сравнению с этим, лишь мелочи. Фюзеляж и крылья служат собственно для подъема авиалайнера в воздух, в кабине производится управление, а в салоне находятся пассажиры или груз. Ну, а как насчет хвостового оперения, для чего же оно нужно? Не для красоты ведь?
Хвостовое оперение
Те, кто водит машину, отлично знают, как поехать в сторону: нужно лишь повернуть руль, вслед за которым будут двигаться и колеса. Но самолет — совсем другое дело, ведь в воздухе нет никаких дорог, и для управления нужны какие-то другие механизмы. Здесь в дело вступает чистая наука: на летящую машину действует большое количество различных сил, и те, что полезны, усиливаются, а остальные минимизируются, в результате чего достигается некий баланс.
Вероятно, почти каждый, кто видел в своей жизни авиалайнер, обращал внимание на сложную конструкцию в его хвостовой части — оперение. Именно эта сравнительно небольшая часть, как это ни странно, управляет всей этой гигантской машиной, заставляя ее не только поворачивать, но и набирать или сбрасывать высоту. Оно состоит из двух частей: вертикальной и горизонтальной, которые, в свою очередь, тоже делятся надвое. Руля тоже два: один служит, чтобы задавать направление движения, а другой — высоту. Кроме того, есть и часть, с помощью которой достигается продольная устойчивость авиалайнера.
Кстати, стабилизатор самолета может располагаться не только в его задней части. Но подробнее об этом чуть позже.
Стабилизатор
Современная схема самолета предусматривает множество деталей, необходимых для поддержания безопасного состояния авиалайнера и его пассажиров на всех этапах полета. И, пожалуй, главной из них является стабилизатор, расположенный в задней части конструкции.
Он представляет собой, по сути, всего лишь планку, поэтому удивительно, как такая сравнительно небольшая деталь может вообще каким-либо образом влиять на движение огромного авиалайнера. Но он в самом деле очень важен — когда происходит поломка этой части, полет может закончиться весьма трагично. Например, согласно официальной версии, именно стабилизатор самолета стал причиной недавнего крушения пассажирского «Боинга» в Ростове-на-Дону. По мнению международных экспертов, рассогласованность в действиях пилотов и ошибка одного из них привели в действие одну из частей оперения, переведя стабилизатор в положение, характерное для пике. У экипажа уже просто не получилось ничего предпринять, чтобы не допустить столкновения. К счастью, самолетостроение не стоит на месте, и каждый следующий полет дает все меньше пространства для человеческого фактора.
Функции
Как очевидно из названия, стабилизатор самолета служит для контроля за его движением. Компенсируя и гася некоторые пики и вибрации, он делает полет более плавным и безопасным.
Поскольку отклонения бывают как в вертикальной, так и в горизонтальной оси, управление стабилизатором осуществляется также в двух направлениях — поэтому он и состоит из двух частей. Они могут иметь самую разную конструкцию, в зависимости от типа и предназначения воздушного судна, но в любом случае присутствуют на любом современном самолете.
Горизонтальная часть
Она отвечает за балансировку по вертикали, не позволяя машине то и дело «клевать носом», и состоит из двух главных деталей. Первая из них — неподвижная поверхность, которая, собственно, и представляет собой стабилизатор высоты самолета. На шарнире к этой части прикреплена вторая — руль, обеспечивающий управление.
При нормальной аэродинамической схеме горизонтальный стабилизатор располагается в хвосте. Однако встречаются также конструкции, когда он находится перед крылом или их и вовсе два — в передней части и сзади. Встречаются также так называемые схемы «бесхвостка» или «летающее крыло», вообще не имеющие горизонтального оперения.
Вертикальная часть
Эта деталь обеспечивает воздушному судну устойчивость направления в полете, не позволяя ему вилять из стороны в сторону. Это тоже составная конструкция, в которой предусмотрены неподвижный вертикальный стабилизатор самолета, или киль, а также руль направления на шарнире.
Эта часть, как и крыло, в зависимости от назначения и требуемых характеристик, может иметь самую разную форму. Разнообразие достигается также и с помощью различий во взаимном расположении всех поверхностей и добавления дополнительных частей, таких как форкиль или подфюзеляжный гребень.
Форма и подвижность
Пожалуй, самым популярным в гражданской авиации сейчас является Т-образное оперение, при котором горизонтальная часть находится на конце киля. Впрочем, встречаются и некоторые другие.
Некоторое время использовалось V-образное оперение, в котором обе части одновременно выполняли сразу функции как горизонтальной, так и вертикальной части. Сложное управление и относительно небольшая эффективность не позволили этому варианту широко распространиться.
Кроме того, встречается разнесенное вертикальное оперение, при котором его части могут находиться по бокам от фюзеляжа и даже на крыльях.
Что же касается подвижности, обычно стабилизирующие поверхности жестко закреплены относительно корпуса. Тем не менее встречаются варианты, особенно когда дело касается горизонтального оперения.
Если поменять угол относительно продольной оси можно на земле, стабилизатор такого типа называется переставляемым. Если же управление стабилизатором самолета может происходить и в воздухе, он будет подвижным. Это характерно для тяжелых авиалайнеров, нуждающихся в дополнительной балансировке. Наконец, на сверхзвуковых машинах применяется подвижный стабилизатор самолета, выполняющий также роль руля высоты.
Стабилизатор и киль самолета собираются так же, как и планера …
из липовой дощечки размером 6X12X170 мм. Форма и размеры ее показаны на рисунке 34.
Стабилизатор и киль самолета собираются так же, как и планера. Кромки стабилизатора имеют низ плоский, а верх полукруглый, сечение их в центре равно ЗХ 1,5 м, а на концах 1,5 X U5 мм.
Центральная нервюра — плоская, сечением 5Х1.& мм и длиной 115 мм. Она прикрепляется к стабилизатору нитками и клеем таким образом, чтобы ее концы на 10 мм выступали наружу. Эти концы необходимы для крепления хвостового оперения к рейке.
Киль изгибается из одного кусочка бамбука и привязывается к нервюре стабилизатора с задней стороны передней кромки. Сечение кромок у основания равно 2X3 мм, закругления — 2X2 мм (рис. 34). Все закругления крыла, стабилизатора, киля изгибают над огнем и проверяют, прикладывая детали к чертежам, сделанным в натуральную величину.
Хвостовое оперение устанавливается на конце рейки выступающими концами и наглухо привязывается к ней нитками с клеем.
Рейка (фюзеляж) выстругивается из сосновой палочки длиной 950 мм и сечением 11X6 мм (рис. 35).
К фюзеляжу на расстоянии 200 мм от переднего конца рейки наглухо прикреплены стойки шасси. Для усиления жесткости крепления шасси с рейкой применяют два подкоса, которые делаются из миллиметровой проволоки.
Стойки шасси (рис. 35) изготовлены из бамбука и имеют каплеобразную форму. Вверху сечение стоек равно 6X3 мм, а внизу 4X2 мм. К тонким концам стоек привязываются оси для колес. Чтобы ось не вытаскивалась и не вращалась, один ее конец расплющивают. Для того чтобы оси были заподлицо со стойками шасси, в последних нужно сделать небольшие срезы, к которым с помощью клея и ниток прикрепить ось. Нитки укладывают ровно, ряд к ряду.
Самая трудная часть в изготовлении модели самолета — это винт. Делать его надо с особой тщательностью и вниманием. Изготовляют винт из брусочка липы (можно ольхи, березы или осины) длиной 260 мм (длина должна равняться диаметру винта), шириной 26 мм и высотой 13 мм. Брусочек размечают по рисунку. Затем берут шаблон и ■ очерчивают контур лопастей- винта. Шаблон винта лучше всего сделать из
Рис. 33. Эскизный чертеж схематической модели самолета в трех проекциях.
еще воздушный винт, резиновый мотор и шасси (рис. 33).
Крыло состоит из передней и задней кромок, девяти нервюр и двух закруглений.
Все детали изготовляются из бамбука (рис. 34).
Кромки сечением 4 X 2 мм и длиной 700 мм нагревают над огнем и сгибают посредине, так чтобы получился «угол V», равный 8°. Из бамбука сечением 2X3 мм делают два закругления. Концы кромок и закруглений срезают на ус и соединяют клеем и нитками.
Затем сгибают девять нервюр, концы их заостряют «лопаточкой» и вставляют в проколы в кромках крыла.
Крыло модели самолета собирается так же, как и у планера.
Для крепления крыла делают планочку
Привод перекладки стабилизатора Boeing-737: engineering_ru — LiveJournal
Как ни крути, а стабилизатор самолёту нужен.Для некоторых любителей авиации дальнейшее будет откровением, но я всё же скажу.
Так вот — Стабилизатор дует вниз!
Итак.
Как ни странно, но подъёмная сила стабилизатора направлена вниз.
Крыла — вверх, а стабилизатора — вниз.
Это сделано для балансировки самолёта.
Потому что подъёмная сила (ПС) крыла приложена сзади центра масс.
И она направлена вверх, а потому создаёт пикирующий момент.
Поэтому стабилизатор — как маленькое перевёрнутое крыло — имея более выгнутую поверхность снизу, создаёт силу, направленную вниз, и в полёте компенсирует пикирующий момент от крыла своим кабрирующим моментом.
Именно поэтому на больших самолётах размещают в стабилизаторе дополнительный топливный бак и создают этой массой силу, частично разгружающую стабилизатор и бесплатно помогающую балансировать самолёт в продольном направлении (на небольших самолётах вроде Boeing-737 и Airbus-320 таких баков обычно нет).
Также для разгрузки стабилизатора могут служить и двигатели, расположенные в хвостовой части.
Но тут есть одна опасность. Так как масса этих двигателей не зависит от аэродинамики, а значит, и скорости полёта, то при уменьшении скорости они будут тянуть хвост вниз, но крыло тянуть вверх не будет. А это чревато превышением безопасного угла атаки, невозможностью разгона самолёта и критической потерей скорости со сваливанием в плоский штопор.
Что и произошло на Ту-154 в 2006 году под Донецком. Поэтому иметь стабилизирующее воздействие от аэродинамических сил полезнее: при его потере у самолёта с самым распространённым расположением двигателей — на пилонах спереди крыла — сама собой возникает сила, опускающая нос и разгоняющая скорость.
Однако мы отвлеклись.
У нас имеется стабилизированный самолёт, да?
Почему бы так и не летать с жёстко закреплённым стабилизатором, изредка толкая штурвал или немножко подтягивая на посадке?
Потому что есть ещё несколько причин.
Так как всем нам хочется летать быстро, то для этого нужно тонкое (сверху вниз) и узкое (спереди назад) крыло.
Но нам также хочется приземляться не на сверхсветовой скорости, а медленно и вальяжно. А для этого нужно толстое, широкое и кривое крыло.
Поэтому придумали закрылки — это часть крыла, выдвигающаяся назад и вниз, увеличивая площадь крыла и его кривизну спереди назад. Они позволяют увеличить подъёмную силу на малых скоростях полёта.
Всем хороши закрылки. Захотел — вывалил. Захотел — убрал.
Но.
При выпуске закрылков центр давления крыла смещается заметно назад. И неподвижный стабилизатор не может уже сбалансировать самолёт.
Поэтому пришлось делать стабилизатор поворотным.
По рисунку — стабилизатор крепится шарнирно в двух задних точках к фюзеляжу.
А передняя точка крепления может перемещаться вверх и вниз.
Перемещается стабилизатор обычно винтовым подъёмником.
Установлен он в негерметичной части фюзеляжа, сзади гермошпангоута, которым заканчивается салон.
Приводится на 737 он тросовой проводкой, тянущейся через весь аэроплан к кабине пилотов.
Пилоты управляют стабилизатором, нажимая клавиши на рогах штурвала.
Также стабилизатор приводится в действие автоматически при сильном отклонении штурвала на пикирование или кабрирование. Когда система понимает, что запаса управления рулём высоты не хватает для выполнения нужного манёвра.
Схемка привода стабилизатора.
В приводе есть электромагнитные муфты, фиксирующие последнее положение привода, и расцепляющиеся для его вращения при подаче питания. Они, и система управления вообще, питаются постоянным 28 В. Моторы — от переменки.
Индикация положения стабилизатора для пилотов есть на стойке управления — это шкалы по бокам, где зелёным обозначена зона взлётного диапазона положений.
Справа внизу фотки видны два тумблера.
Они нормально замкнуты во включенном положении и предохранены от размыкания упорами.
Эти тумблеры позволяют отключить управление стабилизатором в нештатной ситуации. Левый — от пилотов, правый — от автопилота. Например, если залипнет тумблер на рогах пилота, и стабилизатор будет перемещаться в одну сторону безостановочно.
Для резервного управления стабилизатором по бокам стойки управления есть два барабана — возле колена КВС и 2П.
На барабанах есть откидывающаяся ручка,
за которую можно вручную вращать барабан .
Далее вниз от барабанов проходит цепь, и дальше оно переходит в тросы, идущие назад.
Всё это хозяйство жёстко связано, так что при любом вращении винта привода движение передаётся на барабаны, и в кабине срузу видно перемещение стабилизатора.
Как уже сказано, пилоты перемещают стабилизатор с рогов штурвалов.
На внешнем роге (том, что ближе к борту) есть два тумблера.
Одновременное их нажатие приводит к срабатыванию электродвигателя на приводе стабилизатора, двигатель вращает винт, а уж по нему через шариковый подшипник ездит стабилизатор, изменяя угол установки.
Для предохранения система не будет перемещать стабилизатор, если штурвал упёрт в одну сторону, а тумблеры замкнуты на перемещение стабилизатора в другую. Забывание этого нюанса пилотами в стрессовой ситуации, кажется, способствовало развитию опасных положений в нескольких катастрофах.
На шпангоуте фюзеляжа, к которому закреплён привод, также прикреплены концевики разных систем, которым важны дискретные сигналы о положении стабилизатора.
Доступ в отсек стабилизатора есть через лючок в задней нижней части фюзеляжа, перед отсеком ВСУ.
Залезнув, обнаруживаем полусферический задний гермошпангоут, а также кучу лишних тросов и трубок.
Сзади отсека, вплотную к отсеку ВСУ, находится предмет нашего сегодняшнего вожделения.
Как видно, привод стабилизатора имеет снизу барабан с тросами. Но него наматываются и сматываются тросы при вращении.
Слева по фоткам есть электромотор привода пилотами. Он трёхфазно-переменен и имеет две скорости вращения — при выпущенных закрылках скорость большая, при убранных — маленькая. Считается, что закрылки выпускаются в близости земли, когда скорость самолёта меньше, и для перебалансировки его нужно быстрое перемещение стабилизатора на бОльшие углы.
Справа по фотке на приводе есть электромотор автопилота.
Когда автопилот включен, то система стремится уменьшить использование руля высоты (РВ) для управления тангажом, и после его отклонения автопилотом она через некоторое время перемещает стабилизатор целиком, компенсируя отклонение РВ. Некоторые считают, что это снижает сопротивление самолёта, так как для такого же изменения пикирующего момента не нужно вытарчивать рули высоты в поток, а достаточно немножко повернуть весь стабилизатор.
Концевики на железном Боинге выполнены так же кондово.
Они находятся на двух планках, и приводятся через елозящую по ним раму с плоскостями разных уровней.
Ролики у них выточены из цельного куска текстолита.
На поверхностях художественно наляпана консистентная смазка, которой щедро смазывается винт и которая не менее щедро изо всяких мест потом вылазит.
Вот, собственно, и всё.
… а чего я вообще туда полез?
А это нам просто выдали работу по проверке состояния некоторых разъёмов на самолёте.
Разъёмы оказались в порядке.
Как-то так, да.
А, ещё видео.
Как-то медленно он тут едет.
Фотографии в альбоме «737 Stab trim actuator», автор Lx-photos на Яндекс.Фотках
В чем разница? — Monroe Aerospace News
Стабилизаторы — важная составляющая самолета. Они соответствуют своему тезке, «стабилизируя» самолет и, таким образом, предотвращая нежелательное движение. Будь то коммерческий реактивный самолет или частный винтовой самолет, большинство самолетов имеют стабилизаторы.
Однако в самолетах используются два основных типа стабилизаторов: горизонтальный и вертикальный. Итак, в чем именно разница между горизонтальными и вертикальными стабилизаторами?
Что такое горизонтальный стабилизатор?
Горизонтальный стабилизатор, расположенный на левой и правой сторонах хвостовой части самолета, предназначен для поддержания дифферента самолета.Он работает, создавая направленную вверх силу, которая уравновешивает самолет по горизонтали во время полета. Когда самолет летит, его горизонтальные стабилизаторы будут подталкивать воздух вверх, чтобы предотвратить колебания при дифференте.
Горизонтальные стабилизаторы представляют собой довольно простые компоненты, которые состоят из небольших и тонких кусочков материала — обычно того же материала, из которого изготовлен фюзеляж. По сути, они похожи на маленькие крылышки по бокам хвоста. Как левая, так и правая стороны оперения самолета будут иметь горизонтальный стабилизатор.В то время как горизонтальные стабилизаторы создают вертикальную силу во время полета, они проходят горизонтально по бокам хвоста.
Что такое вертикальный стабилизатор?
Вертикальный стабилизатор, также известный как вертикальный стабилизатор, представляет собой компонент, предназначенный для минимизации бокового скольжения — явления, которое происходит, когда самолет начинает лететь в сторону, — и при этом помогает ему сохранять свой курс. Без вертикального стабилизатора самолет может отодвинуть в сторону. Такое боковое скольжение может сбить самолет с заданного курса.Пилоты обычно могут корректировать свой курс, но это происходит за счет дополнительного расхода топлива. Поэтому для решения этих проблем используются вертикальные стабилизаторы.
Вертикальный стабилизатор находится на хвостовой части самолета. Как и горизонтальные стабилизаторы, он состоит из небольшого и тонкого куска материала, который выглядит как миниатюрное крыло. Однако вертикальный стабилизатор устанавливается вертикально на хвосте самолета, тогда как горизонтальные стабилизаторы устанавливаются горизонтально на хвосте самолета.
Важно отметить, что некоторые самолеты имеют несколько вертикальных стабилизаторов. Например, некоторые военные самолеты имеют либо два, либо три вертикальных стабилизатора. Известные как двуххвостые или треххвостые крылья соответственно, они разработаны для обеспечения превосходного уровня управления. С учетом сказанного, у большинства коммерческих самолетов есть только один вертикальный стабилизатор. Если вы посмотрите на коммерческий самолет, вы увидите вертикальный стабилизатор, расположенный в верхней части хвостового оперения.
Может ли самолет летать без вертикального стабилизатора?
Трудно не заметить большие вертикальные стабилизаторы современного самолета, установленные вверх.Но это больше, чем место для размещения логотипа авиакомпании. Они играют очень важную роль в устойчивости самолета в полете.
Узнайте больше о вертикальных стабилизаторах, их назначении и почему они используются на многих самолетах. В конечном итоге мы отвечаем, может ли самолет летать без него. Мы также рассмотрим культовый военный самолет, который родился без вертикального стабилизатора, и исследуем, как это возможно.
Что такое вертикальный стабилизатор?
Вертикальный стабилизатор обычно расположен в кормовой части самолета.Его основное предназначение — обеспечение курсовой устойчивости и уменьшение аэродинамического бокового скольжения.
Вертикальные стабилизаторы обычно направлены вверх и являются частью хвостовой части самолета. Поскольку они установлены вертикально, они также обеспечивают два основных аэродинамических преимущества. Во-первых, вертикальные стабилизаторы подвержены сопротивлению, которое увеличивается с увеличением скорости. Это помогает предотвратить превышение скорости и создает умеренную естественную тенденцию к взлету носа самолета. Во-вторых, когда самолет кренится, он действует как крыло и, таким образом, создает подъемную силу.В свою очередь, это противодействует тенденции крена и удерживает самолет в прямом направлении, если летный экипаж не дает никаких управляющих сигналов.
Вертикальные стабилизаторы в ливрее Iberia Airlines. Вертикальный стабилизатор является важной частью конструкции обычного самолета.Задний конец вертикального стабилизатора называется рулем направления и представляет собой подвижную поверхность управления. Пилоты используют руль направления для перемещения самолета по оси рыскания (также называемой вертикальной осью). Пилоты управляют рулем с помощью педалей в кабине.
Навигационная радиостанция и антенны трансивера обычно также размещаются в вертикальном стабилизаторе. На самолетах Trijet может даже быть двигатель, установленный в вертикальном стабилизаторе, хотя это становится все реже.
Может ли самолет летать без вертикального стабилизатора?
Зависит от типа повреждений и конструкции самолета.
Если самолет теряет только руль направления, это не катастрофа. Но это все еще очень серьезно. Без руля направления пилоты теряют большую часть контроля оси рыскания.Можно внести небольшие корректировки, например, регулируя тягу с каждой стороны самолета, но управление на низкой скорости будет плохим. В целом же самолет все равно будет достаточно устойчивым и будет держаться в воздухе. Но пилотам необходимо приземлиться как можно быстрее, и даже это связано с большим риском без руля направления. Особенно при сильном ветре, когда руль направления практически необходим.
Потеря только руля — это серьезно, но не катастрофично. Если же весь вертикальный стабилизатор потеряется, управлять самолетом будет очень сложно.Если полностью потерять вертикальный стабилизатор, будет невероятно сложно безопасно управлять самолетом и посадить его. Без вертикального стабилизатора самолет потерял бы устойчивость по оси рыскания. Таким образом, теряется не только способность управлять осью рыскания (из-за отсутствия руля направления), но и устройство, которое делает самолет устойчивым по оси рыскания.
Обычные авиалайнеры не могут летать без вертикального стабилизатора. Если он потеряется во время полета, самолет, скорее всего, потерпит крушение.
Произошло до
Хотя это крайне маловероятное и редкое событие, потеря вертикального стабилизатора на самом деле произошла на пассажирских рейсах.
В 1985 году самолет рейса 123 Japan Airlines потерпел во время полета структурную неисправность, которая привела к быстрой декомпрессии, в результате которой были оторваны большие части хвостового оперения и вертикального стабилизатора. Экипажу удалось продержать самолет в воздухе некоторое время, но в конечном итоге он потерял управление и разбился. Исследования показали, что неправильный ремонт предыдущего повреждения вызвал разрушение конструкции и, в свою очередь, декомпрессию.520 пассажиров погибли и только четверо выжили.
16 лет спустя рейс 587 American Airlines потерял свой вертикальный стабилизатор, когда один из чрезмерных усилий пилота перегрузил его. Турбулентность в спутной струе Боинга 747, взлетевшего перед рейсом 587, заставила одного из пилотов быстро переключаться между перемещением руля направления влево и вправо. После потери вертикального стабилизатора пилоты потеряли управление самолетом, и он врезался в окрестности, убив всех на борту и пять человек на земле.
А как насчет самолета, у которого нет вертикального стабилизатора?
Обычные самолеты, которые предназначены для полета с вертикальным стабилизатором, не могут летать без него.
Но некоторые самолеты вообще не имеют вертикального стабилизатора. Самым известным, пожалуй, является Northrop Grumman B-2 Spirit. Компания Northrop Grumman разработала B-2 как «летающее крыло», и на нем не установлен вертикальный стабилизатор. Он по-прежнему нуждается в мерах по стабилизации оси рыскания, но он должен быть откуда-то еще.
Northrop Grumman B-2 Spirit разработан для полетов без вертикального стабилизатора. Вместо этого продвинутые компьютеры и специальные закрылки стабилизируют самолет в полете.В B-2 современные компьютерные системы используют управление полетом по проводам для стабилизации самолета. Сложная система регулирует управляющие поверхности на крыльях, чтобы самолет оставался устойчивым. Специальные разрезные закрылки на крыльях открываются и создают сопротивление крылу, на котором они установлены. Это отодвигает борт самолета назад и сохраняет устойчивость B-2.
Компьютеры получают данные и информацию от датчиков по всему самолету и контролируют несколько внешних условий. Например, данные об угле атаки и воздушной скорости. Он работает с несколькими уровнями резервирования.
Система полностью независима от пилотов и не требует от них управляющего воздействия.
B-2 Spirit по своей конструкции может летать без вертикального стабилизатора и, следовательно, имеет специальные системы, обеспечивающие стабильный полет. У обычных авиалайнеров этого нет.
Итог
Вертикальный стабилизатор предназначен для обеспечения курсовой устойчивости самолета и является ключевой частью аэродинамической конструкции обычного самолета.
Если авиалайнер потеряет вертикальный стабилизатор во время полета, он потеряет устойчивость по оси рыскания. Пилотам будет очень сложно управлять самолетом, и он, скорее всего, потерпит крушение. Такое случалось раньше, но это очень редкое событие.
Вертикальный стабилизатор абсолютно необходим для самолета, для которого он предназначен.Некоторые не такие, как B-2 Spirit. Но B-2 оснащен высокотехнологичной компьютерной системой и специальными закрылками, компенсирующими отсутствие вертикального стабилизатора.
Хвостовое оперение и обшивка самолета
Это последний учебник в мини-серии из пяти частей, посвященных конструкциям планера и рулевым поверхностям. Предыдущее руководство было посвящено системам закрылков и предкрылков. Мы заканчиваем эту мини-серию обсуждением хвостовой части самолета, уделяя особое внимание воздействию хвостовой части в трех основных областях: устойчивость, управляемость и дифферент.
Почему у самолета и есть хвост?
Обычное хвостовое оперение самолета состоит из двух подъемных поверхностей, ориентированных под прямым углом друг к другу: горизонтального стабилизатора и вертикального стабилизатора . Вместе они упоминаются как оперение , что имеет французское происхождение и переводится как «опереть стрелу». Это хорошее описание хвостовой части, так как оперение, как перья на стреле, стабилизирует самолет в полете.
Рисунок 1: Вертикальный и горизонтальный стабилизатор на Cessna 172Хвостовая часть имеет две основные цели: (1) обеспечение устойчивости в продольной (тангаж) и направленной (рыскание) плоскости и (2) для управления реакция самолета по тангажу и рысканью через подвижные рулевые поверхности, прикрепленные к горизонтальным и вертикальным стабилизаторам.
Стабильность
Самолет в полете имеет шесть степеней свободы: три градуса поступательного движения (вперед / назад, влево / вправо, вверх / вниз) и три градуса вращения (тангаж, рыскание, крен).Хвост управляет углом наклона в продольной плоскости и рысканием в направленной плоскости . Реакция самолета на управляющий вход не изолирована от этой поверхности, и поэтому есть вторичные управляющие реакции, вызванные отклонением поверхности в хвосте; например, рыскание через вход руля направления вызовет крен в качестве вторичной реакции, если его не исправить. В этом уроке мы собираемся обсудить только основные реакции на отклонение рулевой поверхности на хвостовых поверхностях. Горизонтальные и вертикальные стабилизаторы являются подъемными поверхностями и обычно имеют такую же конструкцию, что и крыло, с основным лонжероном, нервюрами и несущей обшивкой.
Рисунок 2: У самолета шесть степеней свободыПродольная устойчивость — горизонтальный стабилизатор
Необходимость в горизонтальном стабилизаторе становится очевидной после построения графика вертикальных сил, действующих на самолет во время полета. Самолет с горизонтальным стабилизатором, расположенным в задней части фюзеляжа, всегда проектируется таким образом, чтобы центр тяжести (c.g.) находился впереди центра подъемной силы крыла . В этой конфигурации крыло передает момент тангажа при опускании носом вниз на самолет с величиной, равной результирующей подъемной силе, умноженной на плечо момента между центром подъемной силы и c.грамм.
Эта тенденция к опусканию носа имеет решающее значение для обеспечения устойчивости самолета в продольной плоскости. Каждый раз, когда нос самолета поднимается вверх, крыло будет обеспечивать восстанавливающий момент, который будет иметь тенденцию опускать нос обратно. Это называется продольной статической устойчивостью (устойчивость по тангажу) и является одним из отличительных признаков безопасного и стабильного самолета.
Рисунок 3: Расположение центра тяжести перед центром подъемной силы обеспечивает устойчивое движение самолета по тангажу. Этот результирующий момент тангажа при опускании носа должен быть сбалансирован в полете, чтобы самолет продолжал лететь прямо и ровно.Чтобы уравновесить момент тангажа на крыле, на горизонтальном стабилизаторе создается момент равной величины, но в противоположном направлении, чтобы поддерживать самолет в балансировке. Это требует создания прижимной силы в горизонтальном стабилизаторе самолета с традиционной компоновкой, где хвостовая часть расположена позади крыла. Момент является функцией силы на хвосте, умноженной на плечо момента между ц. и стабилизатор. Чем длиннее плечо момента, тем меньше направленная вниз сила, которая должна быть создана для удержания летательного аппарата в равновесии.Это отклонение поверхности управления и прижимная сила в хвостовой части создают индуцированное сопротивление, которое способствует общему сопротивлению самолета. Размещение хвостового оперения на достаточном расстоянии от самолета, например: помогает свести к минимуму эту силу сопротивления.
Рис. 4. Прижимная сила требуется на горизонтальном стабилизаторе для дифферента самолета в плоскости тангажа.Направленная устойчивость — вертикальный стабилизатор
Вертикальный стабилизатор контролирует курсовую устойчивость самолета (ось рыскания). Вертикальная подъемная поверхность является симметричной , так что не создается результирующая сила, когда самолет выровнен относительно относительного ветра .Поверхность работает так же, как задний стабилизатор флюгера, и заставляет самолет всегда выравниваться по относительному ветру. Это состояние стабилизации , когда самолет подвергается порыву ветра или боковой нагрузке, как показано ниже.
Относительный ветер состоит из вектора, состоящего из поступательной скорости самолета и любой боковой или порывистой нагрузки, возникающей в результате движения воздуха в атмосфере. Когда самолет испытывает порыв ветра, расположение хвоста позади центра тяжести вызывает мгновенный наклон вертикального хвостового оперения под углом атаки к относительному ветру.Это вызывает силу в хвосте, которая заставляет нос самолета разворачиваться против ветра. Как только этот порыв исчезает, самолет снова наклоняется под некоторым углом атаки к новому относительному ветру, и нос снова поворачивается, выравнивая нос по относительному ветру.
Рис. 5. Расположение вертикального стабилизатора гарантирует, что дрон всегда будет направлен против ветра.Поверхности управления
Стабилизация самолета в полете — одна из двух основных задач оперения.Другой — предоставить платформу для управления траекторией полета самолета и управления ею. Оба стабилизатора снабжены главной управляющей поверхностью; руль высоты для управления тангажом на горизонтальном стабилизаторе и руль направления для управления рысканием на вертикальном оперении. В некоторых случаях весь горизонтальный стабилизатор вращается вокруг точки крепления, чтобы обеспечить управление по тангажу. Это называется стабилизатором или полностью подвижным хвостом . Некоторые самолеты объединили функции горизонтального и вертикального стабилизаторов в V-образное оперение.Поверхность управления, прикрепленную к V-образному оперению, иногда называют рулем направления, который представляет собой смесь руля направления и руля высоты.
Рисунок 6: Поверхности руля высоты и руля направленияВсе рулевые поверхности работают за счет изменения изгиба поверхности за счет отклонения задней кромки. Это приводит к созданию силы, перпендикулярной поверхности, которая ориентирована вертикально на горизонтальном стабилизаторе (подъемная или прижимная сила) и горизонтально на вертикальном стабилизаторе (боковая сила). Эта сила действует на расстоянии между поверхностью управления и летательным аппаратом c.грамм. и вызывает управляющий момент, изменяя положение самолета по тангажу (руль высоты) или угол рыскания (руль направления).
Рисунок 7: Руль высоты прикреплен к горизонтальному стабилизатору и контролирует тангаж самолета Рисунок 8: Отклонение руля направления обеспечивает контроль рысканияТриммер
Триммер — это дополнительная подвижная управляющая поверхность, прикрепленная к основной поверхности. Это позволяет пилоту манипулировать положением основной поверхности, так что самолет будет оставаться в фиксированной аэродинамической конфигурации, когда рука пилота находится вне стойки управления.Триммер на лифте установлен почти на всех современных самолетах и используется пилотом для поддержания желаемого угла тангажа во время полета. Руль направления также может быть триммирован, чтобы противодействовать крутящему моменту двигателя, а некоторые самолеты используют триммеры на элеронах для управления креном.
Облицовка лифта
Накладка
Мы уже обсуждали необходимость вертикальной нагрузки на горизонтальный стабилизатор для уравновешивания момента тангажа, создаваемого крылом. Пилоту невозможно поддерживать постоянное давление на штангу управления на протяжении всего полета, чтобы удерживать руль высоты под точным углом, необходимым для поддержания этой силы.Скорее всего, триммер используется для удержания руля высоты под требуемым углом путем уравновешивания шарнирных усилий без постоянного действия пилота.
Пилот сначала перемещает штангу управления в положение, позволяющее поддерживать желаемое положение самолета. В этом положении пилот должен приложить усилие к колонне, чтобы сохранить угол руля. Затем пилот управляет триммером в кабине, который перемещает триммер до тех пор, пока не будет снято усилие на джойстике.
Триммер на поверхности управления всегда будет двигаться напротив поверхности, на которую он снимает силу с . Лучше всего это пояснить, обратившись к диаграмме ниже.
Рисунок 9: Триммер руля высоты уравновешивает момент шарнира руля высотыЕсли пилот хочет поднять нос самолета вверх, он оттягивает штангу управления, которая отклоняет заднюю кромку руля высоты вверх, создавая прижимную силу в хвосте, которая поднимает самолет. нос. Затем пилот балансирует руль высоты, чтобы удержать этот угол отклонения.Триммер отклоняется вниз, вызывая подъемную силу на язычке, которая создает момент на шарнире руля высоты, равный и противоположный моменту, создаваемому на шарнире силой подъемника. Положение руля высоты удерживается силой, создаваемой язычком, и пилот может ослабить давление на штангу управления.
Вкладыши противовеса и балансировки
В зависимости от чувствительности самолета к входным сигналам по тангажу может потребоваться помощь или замедление движения руля высоты для улучшения управляемости самолета.
Уравновешивающие язычки приспособлены для автоматического срабатывания при включении лифта и помогают пилоту в уменьшать управляющую силу , необходимую для перемещения лифта. Они работают почти так же, как обычный триммер, перемещаясь в противоположном направлении от руля высоты и уменьшая общий момент, который пилот должен приложить через колонку управления.
Антибалансные язычки работают напротив уравновешивающего язычка, а замедляют эффект перемещения лифта на , движущийся в том же направлении, что и лифт .Эти устройства наиболее распространены на цельноповоротных хвостовых оперениях (стабилизаторах), где большая площадь поверхности управления создает ситуацию, когда отклик по тангажу на управляющий сигнал больше, чем требуется пилоту. Вкладка антибаланса работает против управляющего входа, предотвращая чрезмерный контроль.
Рисунок 10: Ушки противовеса и противовесаФиксированные или регулируемые выступы
Обычные для рулей и некоторых элеронов, эти маленькие металлические выступы прикреплены к задней кромке руля и согнуты в нужное положение, когда они еще находятся на земле, чтобы противодействовать нежелательному крену или рысканью в полете.Регулировка выполняется методом проб и ошибок. Фиксированные выступы часто используются на руле направления, чтобы противодействовать влиянию крутящего момента двигателя и уменьшить количество входных сигналов руля направления, необходимое для поддержания баланса самолета.
Рис. 11: Фиксированный выступ на руле направления Tecnam EchoНа этом мы подошли к концу этой публикации и к концу нашей серии статей о конструкции планера и управляющих поверхностях. Если вам понравился этот пост или он был полезен в качестве учебного пособия, познакомьте своих коллег и друзей с AeroToolbox.com и поделитесь этим в своей любимой социальной сети. Спасибо за прочтение.
Это был последний пост в серии конструкции планера и управления. Спасибо за прочтение.
Wrights Develop Automatic Stabilizer
К 1905 году Райты разработали практичный самолет, которым впервые мог управлять пилот. Достигнув этой цели, они решили разработать автоматический стабилизатор, который мог бы управлять самолетом прямо без вмешательства пилота.
Они добились успеха в своих усилиях и 5 января 1914 года были награждены престижным Collier Trophy от Американского аэроклуба за свое устройство. Приз был признан за самый значительный вклад в воздухоплавание, сделанный в течение 1913 года.
К несчастью для Райтов, Лоуренс Сперри публично представил более технологичное устройство во Франции шесть месяцев спустя, 18 июня 1914 года.
Райт начал свою работу над устройством в секрете где-то после 1905 года.Их концепция заключалась в разработке адаптивной системы с обратной связью. При изменении направления курса автоматически включается мощность для регулировки рычагов управления самолетом по рысканию, крену и тангажу в зависимости от ситуации, и самолет возвращается к исходному курсу.
30-фунтовое устройство состояло из маятника и вертикальной лопасти, которые были подключены к источнику питания, который приводил в действие серводвигатели. Каждый раз, когда маятник отклонялся от вертикали, срабатывала система управления деформацией крыла, чтобы восстановить баланс рыскания и крена.
Точно так же горизонтальная заслонка определила устойчивость по тангажу и активировала управление рулем высоты.
Первоначальным источником энергии был сжатый воздух, затем его заменили аккумулятором, а в окончательной версии использовалась небольшая ветряная мельница, приводимая в движение ветром.
Пилот мог регулировать флюгер под любым углом, желаемым для использования при подъеме или спуске. Он также может быть включен или выключен пилотом по желанию.
Они подали заявку на патент 8 февраля 1908 года, хотя устройство все еще находилось в разработке и еще не проходило летные испытания из-за желания сохранить секретность.
Райт периодически работал над устройством, насколько позволяло время. Осенью 1911 года они достигли точки, когда решили испытать его на новом планере в Китти-Хок. Однако появилось несколько репортеров, поэтому, чтобы сохранить секретность нового устройства, они управляли планером без использования функции автоматического управления.
Их патент (№ 1,075,555) был выдан 14 октября 1913 года, хотя они еще не прошли его летные испытания.
Райт, похоже, не торопился использовать устройство, пока Гленн Кертисс не выигрывал трофей Кольера два года подряд, в 1911 и 1912 годах.Кертисс выиграл трофей за разработку летающих лодок.
Орвилл решил, что Кертисс больше не выиграет в 1913 году. Он решил использовать автоматический стабилизатор, чтобы выиграть приз.
Осенью 1913 года Орвилл установил стабилизатор на специальный самолет Wright Model E, в котором использовался одиночный толкающий винт. Он держал в секрете детали стабилизатора даже от компании Райта. Он специально дождался последнего дня года, чтобы полететь за призом.
Он пригласил судей Аэроклуба в Прери Хаффман, чтобы увидеть демонстрацию своего нового устройства холодным снежным днем, 31 декабря.
Он приподнял воротник пальто, надел очки и взлетел. Всего совершил 17 полетов.
Его самый зрелищный полет состоял из 7 полных кругов поля с поднятыми вверх обеими руками. Автоматический стабилизатор сохранил тот же угол крена и почти такую же высоту. Он поразил судей и был награжден премией 5 февраля 1914 года.
Затем стабилизатор был предложен в качестве опции для продажи флаеров Wright 1910-1911 Model B.
Однако он не нашел особого применения, потому что 18 июня 1914 года молодой Лоуренс Сперри в рамках большого соревнования по безопасности представил миру совершенно новый тип стабилизатора. Соревнования по безопасности совместно спонсировались Aero-Club de France и Военным министерством Франции.
В своем демонстрационном полете Сперри взлетел с Сены на Curtiss C-2, набрал высоту и снова полетел вниз по реке.В нужный момент его механик Эмиль Качин выполз на 7 футов на крыле, когда Сперри оторвал руки от пульта управления и встал в кабине. Самолет неслись мимо судей, а толпа взбесилась.
Сперри приспособил к самолету уравновешивающий механизм, изобретенный его отцом, Элмером, для противодействия качению кораблей. В устройстве использовались два гироскопа, которые выполняли функцию маятника и лопастей в устройстве Райта.
Изобретение было новой технологией, которая создала бы расширенные возможности для применения в будущем.Он определенно сделал это и используется сегодня в спутниках и космических полетах.
Быстрое устаревание автоматического стабилизатора было символом того, что также происходило с самолетами Райта. Присуждение трофея Кольера Райтам ознаменовало конец эпохи, когда Райт изобрел и воплотил самолет в реальность. Поступая так, они устанавливают стандарты качества, которыми должны следовать другие.
Ссылки: Мальчики-епископы Тома Крауча; Уилбур и Орвилл Фреда Ховарда
Detrum iStone-All V2 6-осевой гироскопический стабилизатор самолета с дистанционным управлением
Измените устойчивость своего самолета и летайте как профессионал с помощью стабилизатора самолета Detrum iStone-All V2.В стабилизаторе используется набор микросхем 6-осевого датчика, который включает в себя высокопроизводительный гироскоп и акселерометр, которые помогают управлять вашим самолетом и обеспечивают возможность истинного выравнивания крыла для восстановления после потери ориентации.
В порывистых условиях iStone-All V2 будет выполнять тысячи вычислений в секунду, чтобы вносить поправки намного быстрее, чем это может сделать пилот-человек, и позволять вам летать так, как будто сегодня совершенно безветренный день! Если вы начинающий пилот, iStone-All V2 может помочь избавиться от фактора страха во время первых нескольких полетов.Если у вас возникнут проблемы, просто отпустите ручки, и iStone-All попытается быстро вернуть вашу модель к прямолинейному горизонтальному полету. Если вы летите на самолете, который не очень стабилен из-за дисбаланса, плохой аэродинамики или высокого крутящего момента двигателя, стабилизатор может значительно упростить задачу. Если вы более опытный пилот, iStone-All V2 может дать вам уверенность в отработке более рискованных маневров, зная, что у вас есть возможность перевести свой самолет в безопасный режим одним щелчком переключателя.Он также имеет специальный пилотажный режим, который делает ваш самолет более быстрым для точных маневров и может фиксировать его положение для упрощения сложных трюков.
Если вы летаете на бензиновых или электрических моделях, крыльях, пенных самолетах, планерах или практически любой другой модели с неподвижным крылом, Detrum iStone-All V2 для вас. Он весит всего около 10 граммов и занимает мало места, поэтому идеально подходит для большинства моделей, от небольших пенопластов и выше. Он поддерживает модели самолетов с нормальным крылом, треугольным крылом и V-образным хвостовым оперением и может управлять до 6 сервоприводов.Он совместим с большинством систем радиоуправления, включая приемники PWM, SBUS и DSM. Наконец, установка упрощается с помощью портативного программатора 3-1 (приобретается отдельно).
Detrum iStone V2 предлагает четыре различных режима полета :
Gyro Off Mode (OFF) : Выберите этот режим, чтобы отключить гироскопы для всех каналов. Самолет будет полностью под контролем входов вашего передатчика, действуя так же, как и без установленного ISTONE-All V2.
Нормальный режим (Нормальный) : В этом режиме гироскоп будет определять угловую скорость по каждой оси и мгновенно реагировать для повышения устойчивости вашего самолета. Нормальный режим подходит для всех типов самолетов и полезен в ветреную погоду.
Режим автоматического восстановления (безопасный) : при работе в этом режиме самолет будет автоматически поддерживать горизонтальный полет. Вы можете переключиться в этот режим в экстренной ситуации, чтобы вернуть ваш самолет к прямолинейному горизонтальному полету.Этот режим подходит для новичков или приложений FPV (вид от первого лица).
Пилотажный режим (Пилотажный) : Этот режим удерживает и поддерживает ваш самолет в заданном положении, установленном последней командой, отправленной с вашего передатчика, помогая вам выполнять трюки, такие как подвешивание винта, перевернутый полет, лезвия ножа, низкоскоростные гончие и т. Д. !
Зачем нужен автожир? — Гироскопы (также называемые стабилизаторами полета) помогают поддерживать устойчивость вашего самолета во время взлета, маневров в полете и посадки, что может быть полезно в ветреные дни или при обучении управлению самолетами с дистанционным управлением.Когда-то считалось, что гироскопы предназначены только для новичков, теперь они распространены во всех классах самолетов и используются пилотами всех уровней. Гироскопы отлично подходят для обучения, они позволяют пилотам практиковать высший пилотаж, они дают вам душевное равновесие в менее чем идеальных условиях полета и часто могут помочь вам избежать дорогостоящих повреждений при аварии.
ВАЖНАЯ ИНФОРМАЦИЯ: Для настройки стабилизатора самолета iStone-All V2 требуется программатор Detrum 3-1.
ОСОБЕННОСТИ:
- 32-разрядный высокопроизводительный микроконтроллер ARM, набор микросхем датчиков с 6 осями
- Оригинальный алгоритм стабилизации ориентации и алгоритм управления
- Поддерживает самолеты с нормальным крылом, треугольным крылом и V-образным хвостовым оперением
- Поддерживает переключение режимов через канал MODE, может переключаться между различными режимами
- Четыре режима полета: режим отключения гироскопа, нормальный режим, пилотажный режим и режим автоматической балансировки (безопасный)
- Установите программируемые элементы (усиление элеронов / крена / руля направления, смещение эшелона, режим полета и т. Д.) через программную карту 3-в-1 (не входит в комплект)
- Поддерживает приемники DSM, S.BUS и PWM
- Компактный размер, поддержка различных направлений монтажа (лицевой стороной вверх, вниз, влево и вправо)
- Режим автоматической балансировки (безопасный) для восстановления полета самолета по прямой
Пилоты сообщают о проблемах со стабилизатором
ЛОС-АНДЖЕЛЕС (AP) _ Электронный голос, запускаемый при изменении высоты, сначала предупреждает летный экипаж о проблеме. В кабине загораются сигнальные огни и раздается звуковой сигнал, информирующий пилотов о том, что их самолет не выдерживает заданную высоту.
Предупреждения указывают на проблему с горизонтальным стабилизатором, 40-футовым крылом, установленным высоко в хвостовой части самолетов MD-80, которое контролирует угол подъема и опускания носовой части самолета.
По словам пилотов, знакомых с системами предупреждения и процедурами безопасности самолетов серии MD-80, в понедельник, перед тем как их самолет врезался в Тихий океан, пилоты рейса 261 авиакомпании Alaska Airlines могли столкнуться со сценарием.
«Если вы летите и вдруг у вас возникла проблема, загорается свет», — сказал капитан Frontier Airlines в отставке.Р. Эйс Авакян, бывший летный инструктор MD-80. « У вас есть контрольный список. Вы выполняете определенную процедуру. ″
Процедура включает в себя попытку работы стабилизатора с так называемыми травильными переключателями на ярме, обычным методом перемещения устройства. Если нет ответа, следует попробовать ручное управление, и пилоты должны уведомить авиадиспетчеров и бригады технического обслуживания на земле.
Согласно радиопереговорам между рейсом 261 и авиадиспетчерами, пилоты боролись с заклинившим горизонтальным стабилизатором незадолго до того, как самолет разбился, в результате чего погибли все 88 человек на борту.
Хотя стабилизатор, по-видимому, находится в центре внимания расследования, эксперты сказали, что еще слишком рано делать выводы, было ли устройство причиной погружения или это было просто симптомом более серьезной проблемы.
Грубые стенограммы радиообмена, предоставленные следователями, не дают никаких объяснений, почему заклинило стабилизатор.
«Очевидно, что-то мешало им управлять самолетом вручную, и если вы не можете управлять им вручную, другого выхода нет», — сказал Авакян в среду.
Если стабилизатор застрял под большим углом, это могло привести к быстрому и неконтролируемому подъему или опусканию 147-футового реактивного лайнера.
«Я бы не хотел оказаться в таком положении», — сказал Авакян. «Они, вероятно, боролись с этими средствами управления вплоть до самой воды».
Он сравнил ситуацию с отключением гидроусилителя руля на машине — если он выходит из строя, водитель просто должен управлять сильнее, полагаясь на механическое соединение, соединяющее рулевое колесо к привязной штанге, прикрепленной к рулю.
«Но если эта связь сломана, вы можете перемещать колесо как хотите, но это не поможет», — сказал он. «Автомобиль поедет, куда захочет».
Майк Бин, капитан PanAm в отставке, вспоминал, что к концу полета из Южной Америки в Нью-Йорк около 20 лет назад его горизонтальный стабилизатор Boeing 707 замерз и заклинило. .
Как и большинство проблем, связанных с системой, это не было серьезным. Когда самолет снижался, он нагрелся, растопив лед и освободив управление.
«В итоге мы вообще не использовали наш контрольный список на случай чрезвычайной ситуации», — сказал он. «Пассажиры не знали, что происходит».
Анализ авиационных происшествий с использованием горизонтального стабилизатора показывает, что проблема возникает относительно редко и не является серьезной. Проблемы в полете часто возникают из-за неправильного технического обслуживания, например, из-за несмазывания движущихся частей.
Самая серьезная авария произошла в 1991 году, когда самолет Continental Express, пригородный самолет Embraer-120, врезался в кукурузное поле в Техасе из-за того, что в его горизонтальном стабилизаторе не было 43 винта.
___
ПРИМЕЧАНИЕ РЕДАКТОРА _ Автор Associated Press Том Вердин внес вклад в этот отчет.
DETRUM iStonePRO 6-осевой стабилизатор самолета с системой ABS
6-осевой стабилизатор самолета Detrum iStone с системой ABS — отличное дополнение к растущему классу гироскопов. Быстро и легко меняйте режимы полета, переключая каналы во время полета. Поддерживает стандартные, трехмерные и V-образные модели самолетов. С системой автоматической балансировки восстановить вашу модель, которая ускользнула от вас, так же просто, как щелкнуть переключателем на вашем радио.Detrum iStone 6-AXIS прост в программировании и предлагает три основных режима полета:
Gyro Off — Включите или выключите гироскоп одним щелчком переключателя.
Self-Balance — Стандартная настройка гироскопа, стабилизирует ваш самолет.
Attitude Lock — Удерживает и поддерживает ваш самолет на заданной высоте.
Auto Balance — Верните свой самолет к прямолинейному горизонтальному полету одним щелчком переключателя.
С 6-осевым стабилизатором самолета Detrum iStone с системой ABS у вас есть высокопроизводительный гироскоп, который легко программировать, легко использовать, легко монтировать и легко использовать!
ОСОБЕННОСТИ:
- 32-разрядный высокопроизводительный микроконтроллер ARM, набор микросхем датчика с 6 осями
- Алгоритм стабилизации ориентации и алгоритм управления
- Поддерживает обычные, 3D и V-образные самолеты
- Четыре режима полета: режим отключения гироскопа, нормальный режим, пилотажный режим и режим автоматической балансировки
- Программирование с помощью кнопки SET и светодиодов
- Независимая регулировка усиления элеронов, руля высоты и руля направления
- Поддержите S.Входные сигналы BUS и PWM
- Компактный размер, возможность крепления вперед, назад и сбоку
- Система автоматической балансировки активируется переключателем на передатчике
Политика возврата
Вы можете вернуть большинство новых неоткрытых товаров в течение 30 дней с момента доставки и получить полный возврат средств. Мы также оплатим стоимость обратной доставки, если возврат является результатом нашей ошибки (вы получили неправильный или бракованный товар и т. Д.).
Вы должны рассчитывать на получение возмещения в течение четырех недель с момента передачи посылки отправителю, возвращающему посылку, однако во многих случаях вы получите возмещение быстрее.Этот период времени включает в себя транзитное время, в течение которого мы получим ваш возврат от грузоотправителя (от 5 до 10 рабочих дней), время, необходимое нам для обработки вашего возврата после его получения (от 3 до 5 рабочих дней), и время, необходимое для этого. ваш банк для обработки нашего запроса на возврат (от 5 до 10 рабочих дней).
Если вам нужно вернуть товар, просто войдите в свою учетную запись, просмотрите заказ, используя ссылку «Завершить заказы» в меню «Моя учетная запись», и нажмите кнопку «Вернуть товар (ы)». Мы сообщим вам по электронной почте о вашем возмещении, как только мы получим и обработаем возвращенный товар.
Доставка
Мы можем отправить товар практически по любому адресу в мире. Обратите внимание, что существуют ограничения на некоторые продукты, и некоторые продукты не могут быть отправлены в другие страны.
Когда вы размещаете заказ, мы рассчитываем для вас даты отгрузки и доставки на основе наличия ваших товаров и выбранных вами вариантов доставки. В зависимости от выбранного вами поставщика доставки, приблизительные даты доставки могут отображаться на странице сметы доставки.
Обратите внимание, что стоимость доставки многих товаров, которые мы продаем, зависит от веса.
